Apple’ın yeni patenti, kolyei takılabilecek AirPods şarj kutularına işaret ediyor. Pekala bu patent gerçeğe dönüşürse, bizim için neleri değiştirebilir?

Apple’ın AirPods Pro 2, AirPods (2019) ya da yepyeni AirPods Pro kulakiçi kulaklıklarının pek çok farklı avantajı bulunuyor, fakat takması ve taşıması inanılmaz derecede kolay olması çoğu insan için listenin başında yer alıyor.
Dezavantajlarının arasında ise bu küçük kulaklıkların çok kolay bir şekilde kaybedilebiliyor olması bulunuyor. Ayrıyeten şarj olurken kutularında kaldıkları için aramaları da cevaplayamazsınız. Lakin, Apple’ın yakın gelecekte bu problemleri çözmeyi amaçlayan bir “Kablosuz Kulaklık Aksesuarı” için aldığı bir patente göre bunların tamamı yakında değişebilir.
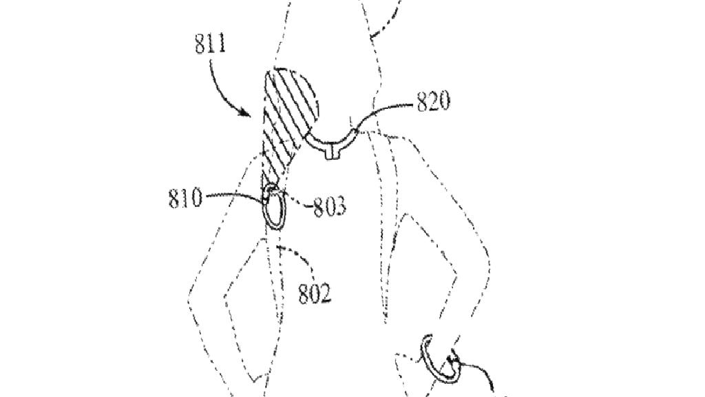
Cupertinolu teknoloji devinin tahlili, temel olarak her bir uçta, tokanın yanında yuvalanmış kulaklıklarla bir arada boynunuza takılan, küçük, parlak çubuk üslubu bir kolye gözüküyor.
Patentte belirtilene göre “Bazı taşınabilir elektronik aygıtlar bir cepte ya da çantada taşınabilirken, birtakım faaliyetler bir elektronik aygıtı saklamak için ceplerin ya da cüzdanların kullanılmasına izin vermez. Örneğin, birtakım taşınabilir elektronik aygıtlar, taşınabilir elektronik aygıtın kullanıcısı koşarken ya da öbür bir şekilde idman yaparken müzik dinlemek için yaygın olarak kullanılır.”
Bunların tamamı doğru açıklamalar olsa da, patentin muhtemelen en çok önemli kısmı şu şekilde: “Bu nedenle, elektronik aygıtı muteber bir şekilde uygun bir form faktöründe tutmak ve istenen diğer özellikleri sağlamak için elektronik aygıtlar için aksesuarlardaki iyileştirmeler ve ilerlemeler istenebilir.”

Patentin içinde kolye teklifinin yanı sıra bisikletiniz için D-kilidi gibi görünen çizimler de bulunuyor, fakat çanta askısına ya da sırt çantasının bir kısmına takmak, bir anahtarlığa eklemek ya da hatta muhtemelen bileğinize asmak için kullanabileceğiniz karabina tipi daha küçük bir fikir de var. Bunların tamamı, AirPods kulaklıklarınızın şarj olmasını ve inançlı bir şekilde üzerinizde olmasını sağlamanın kolay ve yeni yolları olabilir.
Apple’ın patenti, şarj düzeyini göstermek için ışıklar içeren ve giysiye takılan bir şarj kutusunun müzik ya da davet yönetimi için ferdî, taraflı bir hoparlör olarak kullanıldığı bir çizimi de içeren şekilde yeni formun getirebileceği diğer potansiyel özellikleri de anlatıyor.
Apple patentinde, “Aksesuar, gösterildiği taraflı ses üreterek ya da yükselterek, kullanıcının sesi duymasına izin verebilirken diğer insanlar, hatta direkt kullanıcının yanında duranlar bile sesi duyamayabilir. Bu şekilde, bir kullanıcı, örneğin, kulaklık aksesuardayken kulaklıkla yürütülen bir telefon görüşmesine devam edebilir ve yeniden de istenen kapalılık düzeyini koruyabilir” diyor.
Bu çeşit bir aksesuarın Apple için özel bir avantaj olacağı rahatlıkla söylenebilir. Lakin patentler söylediği söz edilen olduğunda çoğu zaman olduğu gibi, bunun kesinlikle bir ürün ile karşılaşacağımız manasına gelmediğini hatırlatmakta yarar var. Apple, 2019’dan bu yana her yıl 4.000’den fazla patent aldı ve bu patentlerin çok büyük bir kısmı hala teknoloji ürünlerine eklenmiş değil.